1、中央空调氟系统设置存油弯的设置的目的
当氟系统的配管存在较大的落差时,为了防止冷冻机油无法有效回到压缩机,因此在竖直管路上必须设置存油弯。如果不设施存油弯,压缩机会缺油而烧毁。
2 中央空调存油弯的设置原则
当系统室内外机之间存在落差时,气管的立管部分从下往上每隔6m处安装一个存油弯。存油弯制作采用两个“U”形弯或者一个“O”形弯,高度为管径的3~5倍。
3 、存油弯安装注意事项
气管的立管从下往上每隔6m处安装一个回油弯,同时在立管的最低处和最高处加设存油弯和止回弯。
4 、室内机高于室外机示意图

5 、室外机高于室内机示意图


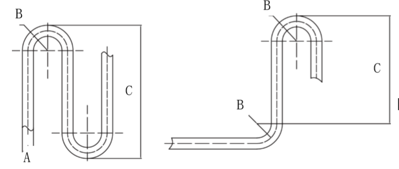
6、回油弯、止回弯制作要求
制作尺寸如下图:




